- Бренды:
- Все бренды
Электрический котел Эван ЭПО-2.5 класса «Стандарт-Эконом» ― это самая бюджетная модель в ряду отопительных электроприборов ЭВАН, которая подходит для использования как дома, так и на даче. Снижение цены на прибор на 20% в отличие от следующего за ним класса «Стандарт» достигается за счет отсутствия корпуса, объединяющего котел и пульт управления, при сохранении всех базовых характеристик и возможностей.
Требуемая температура теплоносителя в котле устанавливается встроенным термостатом путем плавной регулировки от 30 до 85 градусов. Кроме того, котлы имеют возможность подключения внешнего термостата, при помощи которого можно регулировать температуру воздуха в помещении.
Для обеспечения безопасности при нагреве до заданной температуры теплоносителя терморегулятор отключает котел и включает его снова после снижения температуры ниже заданной. Для дополнительной защиты от перегрева приборы оснащены самовозвратным аварийным термовыключателем, который, в случае выхода из строя основного терморегулятора отключает котел при достижении теплоносителем температуры 92 градуса. ТЭНы котла ЭПО 2,5, как и всех без исключения электрокотлов ЭВАН, сделаны из нержавеющей стали, что повышает срок их службы.
Особенности электроприбора отопительного ЭВАН ЭПО 2.5
- нет необходимости постоянного присутствия человека,
- низкая стоимость инсталляции.
- отсутствие дополнительных эксплуатационных затрат (нет необходимости в запасах, погрузке, разгрузке топлива, чистки дымохода),
- простота установки и обслуживания (не требуется установка бака для топлива и бункера для угля, монтажа дымовой трубы),
- экологичность (бесшумность и чистота при работе),
- независимость от внешних факторов,
- возможность полной автоматизации,
- не требует отдельного помещения (котельной).
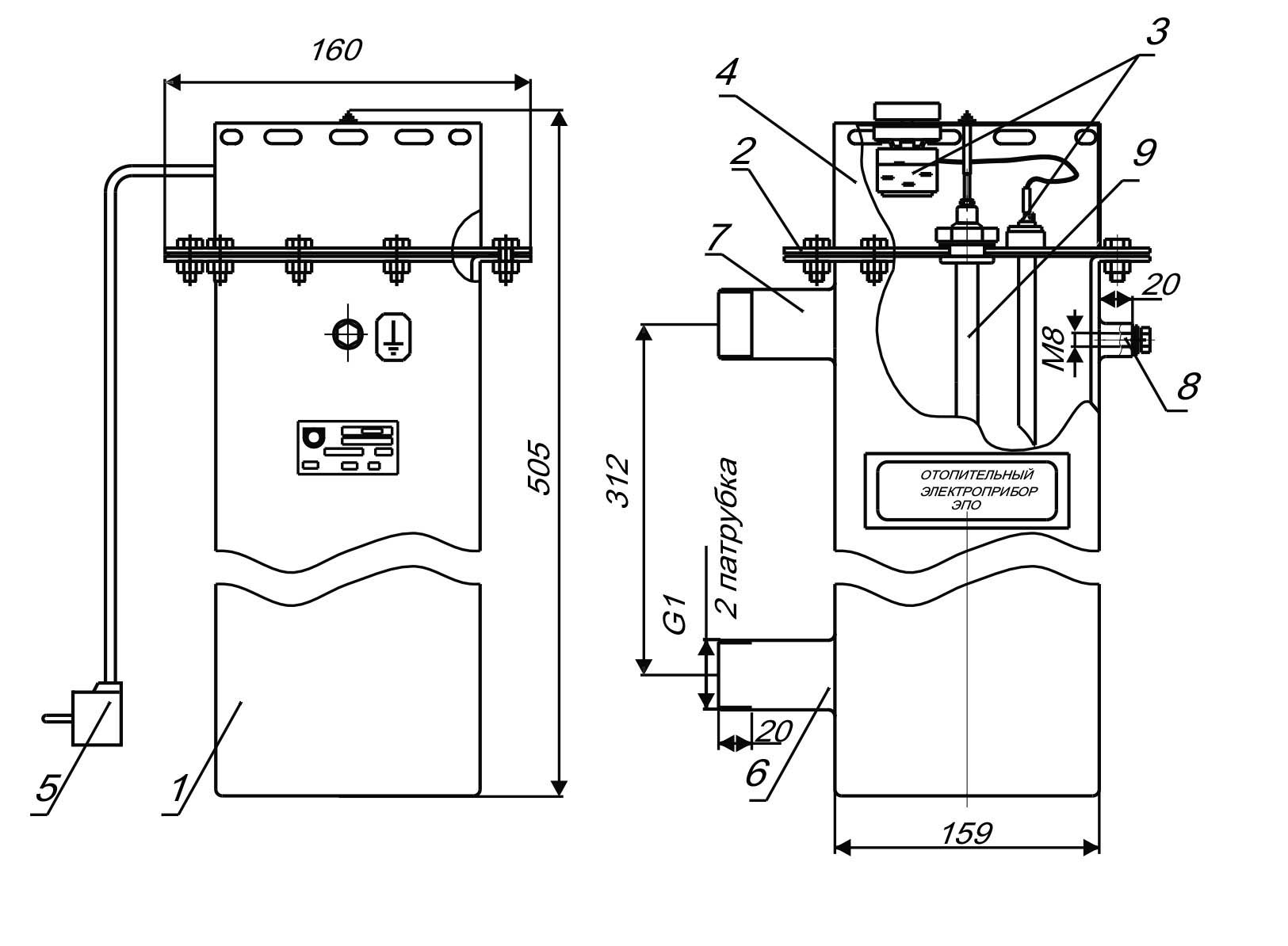
Устройство электрокотла Эван ЭПО-2.5 220В

1 – корпус, 2 – крышка, 3 ― регулятор температуры теплоносителя, 4 ― защитный кожух, 5 ― шнур с вилкой, 6 ― входной патрубок G1, 7 ― выходной патрубок G1, 8 ― зажим М8 для защитного заземления, 9 ― трубчатый электронагреватель (ТЭН) из нержавеющей стали.
Выгодная цена на котлы отопления и в частности электрокотел эван эпо 2,5 обусловлена, прежде всего, огромными запасами продукции на собственном складском хранении, сотрудничеством с производителями напрямую и большими партиями поставок.
Купить электрокотел эван эпо 2,5 возможно как, самовывозом со склада, так и доставкой по Нижнему Новгороду и области. Осуществляем отправку такой продукции как, котлы отопления, а так же другого отопительного, водогрейного и газового оборудования по всей России через транспортные компании или СДЕК. На все продаваемое отопительное и газовое оборудование имеются паспорт производителя, сертификат соответствия и качества.
